จำนวนผู้เยี่ยมชม
แบบที่ 1
วงจรกำลัง
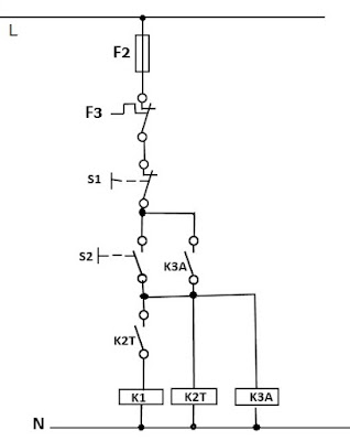
วงจรควบคุม การเริ่มสตาร์ทมอเตอร์หลังจากกดปุ่มสตาร์ท
การทำงานของวงจร
1. จากวงจรควบคุมกระแสจะผ่านอุปกรณ์ต่างๆ มาจนถึง S2 แต่ไม่สามารถผ่านไปได้เนืองจาก S2 เปิดอยู่
2. เมื่อต้องการสตาร์ทมอเตอร์ ให้กด S2 กระแสก็จะไหลผ่านลงมาได้ จนครบวงจรที่ N ทำให้ไทม์เมอร์ K2T และ คอนแทคช่วย K3A ทำงาน
- ทำให้คอนแทคปกติเปิดของคอนแทคช่วย K3A ในแถวที่ 2 ต่อวงจรทำให้กระแสไหลผ่านได้แม้จะปล่อย S2 ทำให้วงจรทำงานได้ต่อไป
- ทำให้ไทม์มอร์ K2T เริ่มนับเวลาตามที่เราตั้งไว้ให้ตัวมอเตอร์ทำงาน
3. เมื่อถึงเวลา ไทม์เมอร์ก็จะทำงาน ทำให้ คอนแทคปกติเปิด K2T ของตัวไทม์เมอร์ ในแถวที่ 1 ปิด ต่อวงจร ทำให้กระแสไฟฟ้าไหลผ่านคอยล์ K1
- ทำให้ เมนคอนแทคของ K1 ที่ต่อควบคุมมอเตอร์ต่อวงจรให้กระแสไฟฟ้าไหลผ่านมายังมอเตอร์ ทำให้มอเตอร์เริ่มหมุน
4. หากเราต้องการให้มอเตอร์หยุดหมุน สามารถทำได้ โดยการกด S1 ตัดวงจรไม่ให้กระแสไหลได้ครบวงจร ตัดการทำงานของวงจรควบคุม
- ทำให้คอนแทคปกติเปิดของคอนแทคช่วย K3A ในแถวที่ 2 ต่อวงจรทำให้กระแสไหลผ่านได้แม้จะปล่อย S2 ทำให้วงจรทำงานได้ต่อไป
- ทำให้ไทม์มอร์ K2T เริ่มนับเวลาตามที่เราตั้งไว้ให้ตัวมอเตอร์ทำงาน
3. เมื่อถึงเวลา ไทม์เมอร์ก็จะทำงาน ทำให้ คอนแทคปกติเปิด K2T ของตัวไทม์เมอร์ ในแถวที่ 1 ปิด ต่อวงจร ทำให้กระแสไฟฟ้าไหลผ่านคอยล์ K1
- ทำให้ เมนคอนแทคของ K1 ที่ต่อควบคุมมอเตอร์ต่อวงจรให้กระแสไฟฟ้าไหลผ่านมายังมอเตอร์ ทำให้มอเตอร์เริ่มหมุน
4. หากเราต้องการให้มอเตอร์หยุดหมุน สามารถทำได้ โดยการกด S1 ตัดวงจรไม่ให้กระแสไหลได้ครบวงจร ตัดการทำงานของวงจรควบคุม
แบบที่ 2
วงจรกำลัง
วงจรควบคุม การเริ่มสตาร์ทมอเตอร์หลังจากกดปุ่มสตาร์ท
การทำงานของวงจร
1. จากวงจรควบคุมกระแสจะผ่านอุปกรณ์ต่างๆ มาจนถึง S2 แต่ไม่สามารถผ่านไปได้เนืองจาก S2 เปิดอยู่
2. เมื่อต้องการสตาร์ทมอเตอร์ ให้กด S2 กระแสก็จะไหลผ่านลงมาได้ จนครบวงจรที่ N ทำให้ คอนแทคช่วย K1A และ ไทม์เมอร์ K2Tทำงาน
- ทำให้คอนแทคปกติเปิดของคอนแทคช่วย K1A ในแถวที่ 2 ต่อวงจรทำให้กระแสไหลผ่านได้แม้จะปล่อย S2 ทำให้วงจรทำงานได้ต่อไป
- ทำให้ไทม์มอร์ K2T เริ่มนับเวลาตามที่เราตั้งไว้ให้ตัวมอเตอร์ทำงาน
3. เมื่อถึงเวลา ไทม์เมอร์ก็จะทำงาน ทำให้ คอนแทคปกติเปิด K2T ของตัวไทม์เมอร์ ในแถวที่ 3 ปิด ต่อวงจร ทำให้กระแสไฟฟ้าไหลผ่านคอยล์ K3
- ทำให้ เมนคอนแทคของ K3 ที่ต่อควบคุมมอเตอร์ต่อวงจรให้กระแสไฟฟ้าไหลผ่านมายังมอเตอร์ ทำให้มอเตอร์เริ่มหมุน
4. หากเราต้องการให้มอเตอร์หยุดหมุน สามารถทำได้ โดยการกด S1 ตัดวงจรไม่ให้กระแสไหลได้ครบวงจร ตัดการทำงานของวงจรควบคุม
- ทำให้คอนแทคปกติเปิดของคอนแทคช่วย K1A ในแถวที่ 2 ต่อวงจรทำให้กระแสไหลผ่านได้แม้จะปล่อย S2 ทำให้วงจรทำงานได้ต่อไป
- ทำให้ไทม์มอร์ K2T เริ่มนับเวลาตามที่เราตั้งไว้ให้ตัวมอเตอร์ทำงาน
3. เมื่อถึงเวลา ไทม์เมอร์ก็จะทำงาน ทำให้ คอนแทคปกติเปิด K2T ของตัวไทม์เมอร์ ในแถวที่ 3 ปิด ต่อวงจร ทำให้กระแสไฟฟ้าไหลผ่านคอยล์ K3
- ทำให้ เมนคอนแทคของ K3 ที่ต่อควบคุมมอเตอร์ต่อวงจรให้กระแสไฟฟ้าไหลผ่านมายังมอเตอร์ ทำให้มอเตอร์เริ่มหมุน
4. หากเราต้องการให้มอเตอร์หยุดหมุน สามารถทำได้ โดยการกด S1 ตัดวงจรไม่ให้กระแสไหลได้ครบวงจร ตัดการทำงานของวงจรควบคุม




ความคิดเห็น